Mailing List lml@lancaironline.net Message #32777
From:
larry zeliadt <lzeliadt@earthlink.net>
Sender:
<marv@lancaironline.net>
Subject:
Lancair 320 without header tank,
Date:
Thu, 10 Nov 2005 07:35:04 -0500
To:
<lml@lancaironline.net>
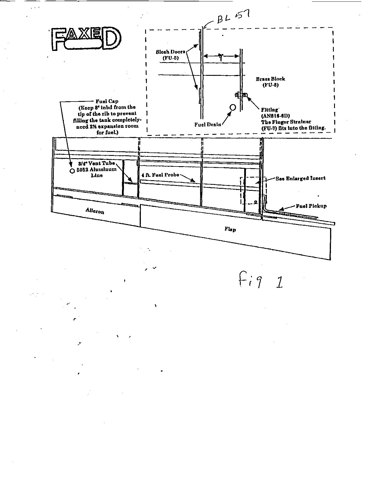
I am doing this in 2 messages because the web site won't accept but so big a file. thanks larry
Attachment:
Lancair 001.jpg
(132K)
Attachment:
Lancair 002.jpg
(303K)
Attachment:
Lancair 003.jpg
(293K)
Attachment:
Lancair 004.jpg
(156K)
Subscribe (FEED)
Subscribe (DIGEST)
Subscribe (INDEX)
Unsubscribe
Mail to Listmaster