Mailing List lml@lancaironline.net Message #44696
From:
Jeffrey Liegner, MD <liegner@embarqmail.com>
Sender:
<marv@lancaironline.net>
Subject:
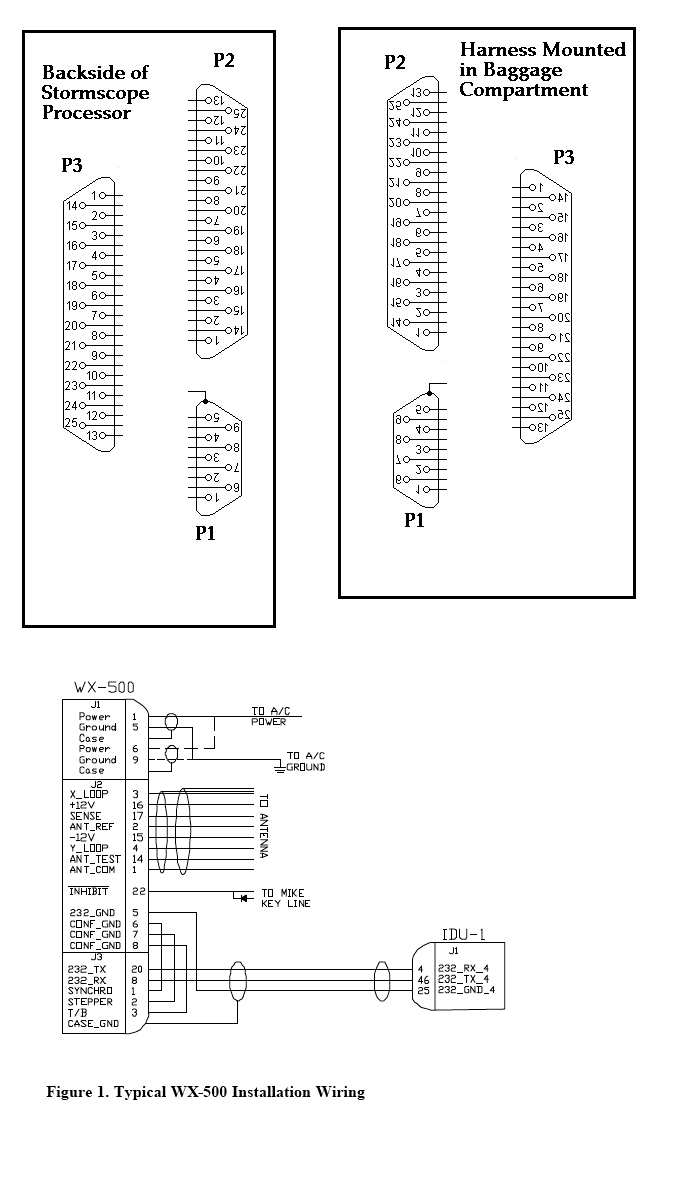
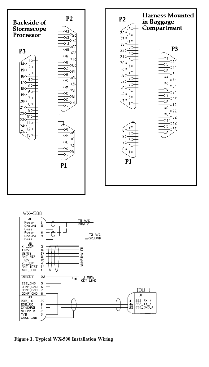
Stormscope WX-500 Pin Assignments (& Chelton wiring)
Date:
Sat, 03 Nov 2007 19:04:24 -0400
To:
<lml@lancaironline.net>
Stormscope WX-500 Pin Assignments (& Chelton wiring)
In case there's an interest in this little item..
--
New email address: liegner@embarqmail.com
Attachment:
P643F5425
(36K)
Subscribe (FEED)
Subscribe (DIGEST)
Subscribe (INDEX)
Unsubscribe
Mail to Listmaster