Mailing List lml@lancaironline.net Message #29703
From: <Sky2high@aol.com>
Sender: <marv@lancaironline.net>
Subject: Re: [LML] Re: Plasma III on Hi Compression Engines - Fuselage Install Notes
Date: Wed, 04 May 2005 11:46:15 -0400
To: <lml@lancaironline.net>
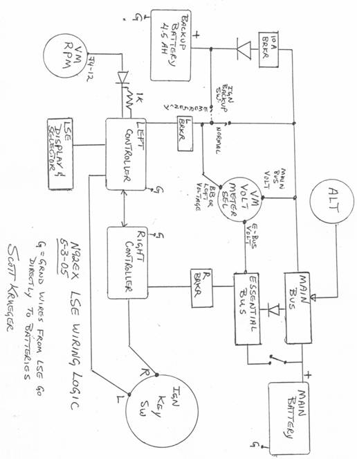
Here is an overview of the wiring:
 

 

                                

 

 

 
Scott Krueger AKA Grayhawk
Lancair N92EX IO320 SB 89/96
Aurora, IL (KARR)

Fair and Balanced Opinions at No Charge!
Metaphysical Monologues used at your own Risk.

 
Subscribe (FEED) Subscribe (DIGEST) Subscribe (INDEX) Unsubscribe Mail to Listmaster