Mailing List flyrotary@lancaironline.net Message #5068
From:
Gaylen Lerohl <lerohl@rea-alp.com>
Subject:
Fuel System part numbers & sketch
Date:
Thu, 1 Jan 2004 10:50:36 -0600
To:
Rotary motors in aircraft <flyrotary@lancaironline.net>
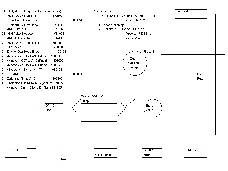
I'm attaching a sketch of my proposed RV-8 fuel system to give listers a source and partial list of part numbers for fittings and adaptors. .
The basic design and the Walbro fuel pumps are Tracy's .
Regards,
Gaylen Lerohl
RV8, 13B
Attachment:
RV8 Fuel System.jpg
(77K)
Subscribe (FEED)
Subscribe (DIGEST)
Subscribe (INDEX)
Unsubscribe
Mail to Listmaster