Mailing List flyrotary@lancaironline.net Message #19475
From: Jerry Hey <jerryhey@earthlink.net>
Subject: New intake plenum drawing
Date: Fri, 25 Mar 2005 16:59:22 -0500
To: Fly Rotary aircraft <flyrotary@lancaironline.net>
Suddenly there is a lot of interest in P ports.  I think at least 6 different versions are being built or at least dreamed about.  There is one mentioned yesterday on the other list that will basically be a race engine:  300 hp at 9000 rpm!!  Trouble with that number is that it does not compute.  I think 400 hp at 9000 rpm would be more like it.  This is a different world from the wimpy little 220 hp at 6000 rpm engine I am building.

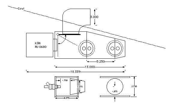
    Anyway, last week I posted a drawing of the intake plenum I planned to build but since then it has gotten a lot better. Here is the new version.  The air filter goes where the alternator was located on the stock engine.       Jerry

Image
Plenum construction dwg.JPG


Subscribe (FEED) Subscribe (DIGEST) Subscribe (INDEX) Unsubscribe Mail to Listmaster